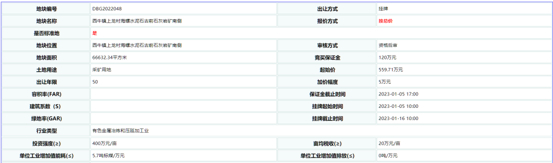
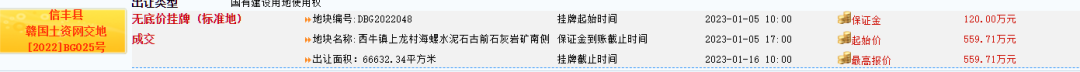
559.71万元!海螺水泥成功竞得一处采矿用地!
2023年01月17日
温馨提示:本文缺失图表,可关注“足球亚盘怎么看 ”微信公众号查看完整原文。

打印 |
标签:
足球亚盘怎么看 版权与免责声明
-
① 足球亚盘怎么看 gcement已申请注册,凡本网注明"来源:足球亚盘怎么看 "的所有文字、图片和音视频稿件,版权均为"足球亚盘怎么看 "独家所有,任何媒体、网站或个人在转载使用时必须注明来源"足球亚盘怎么看 "。违反者本网将依法追究责任。
② 本网转载并注明其他来源的稿件,是本着为读者传递更多信息之目的,并不意味着赞同其观点或证实其内容的真实性。 其他媒体、网站或个人从本网转载使用时,必须保留本网注明的稿件来源,禁止擅自篡改稿件来源,并自负版权等法律责任。违反者本网也将依法追究责任。
③ 如本网转载稿涉及版权等问题,请作者一周内来电或来函联系。

会员登录